1
/
of
2
Jedset Performance
ARP 3/8 General replacement ARP2000 rod bolt kit"
ARP 3/8 General replacement ARP2000 rod bolt kit"
SKU:200-6207
Regular price
$128.36 CAD
Regular price
$134.78 CAD
Sale price
$128.36 CAD
Unit price
/
per
Couldn't load pickup availability
**SEND US AN EMAIL FOR PRICE MATCHING**
**PLEASE CONTACT US BEFORE ORDERING THE PARTS FOR AVAILABILITY**
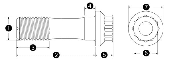
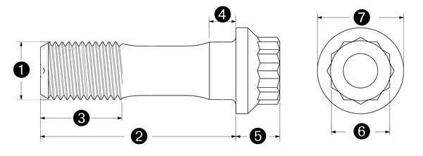
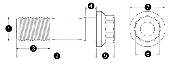
Replacement Rod Bolt Kit
Rod Bolts - 3/8˝, 8-piece set
Kit #: 200-6207
Specifications
Material ARP2000
1) Thread Size 3/8˝
2) UHL 1.500˝
3) Thread Length 0.550˝
4) Grip Length 0.100˝
5) Head Height 0.388˝
6) Socket Size 7/16 12pt
7) Collar Dia. 0.555˝
Kit Instructions: We provide the stretch and torque values below as a general guide. Please contact the rod manufacturer using the chart below for the exact values for your bolt and rod combination. Rod Bolt stretch and torque values for aftermarket rods are determined by the rod manufacturer.
Stretch & Torque Values
Stretch: 0.0055 - 0.0060 in.
Bolt Torque Value: 55 ft-lbs (75 Nm) with ARP Ultra-Torque Fastener Assembly Lubricant
Stretch: 0.0055 - 0.0060 in.
Bolt Torque Value: 55 ft-lbs (75 Nm) with ARP Ultra-Torque Fastener Assembly Lubricant
Share
* photo may vary from actual product *
View full details
